Yamaha Outboard Parts - Starter - FT9.9AMH (1996) | Flood Marine
New Search
Parts
New Outboards
Home
FT9.9AMH (1996)
Starter
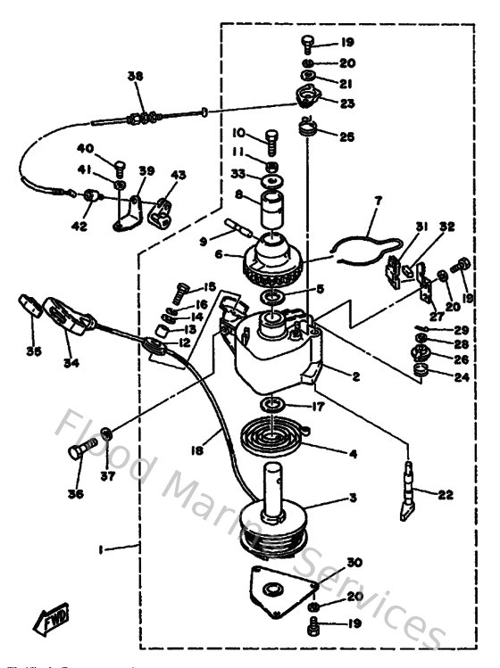
Diagram: Starter
Parts List
Reference
Description
Price
1
6G8157101000
Starter assembly
Loading…
↗
2
6G8157110000
Case, Starter
Loading…
↗
3
6G8157140000
Drum Sheeve
Loading…
↗
4
6G8157130000
Spring Starter
Loading…
↗
5
6G8157190000
Washer, Thrust
Loading…
↗
6
6G8157230000
Pulley, Starter
Loading…
↗
7
6G8157150000
Spring Drive Plate
Loading…
↗
8
6G8157540000
Bushing 2
Loading…
↗
9
6G8157270000
Pin 1
Loading…
↗
10
6G8157680000
Bolt
Loading…
↗
11
953800870000
Nut(661)
Loading…
↗
12
6F5157520000
Roller, wire
Loading…
↗
13
6F5157530000
Bushing 1
Loading…
↗
14
6F5157910000
Washer, lock
Loading…
↗
15
970170602500
Bolt, hexagon
Loading…
↗
16
929950610000
Washer(6a1)
Loading…
↗
17
6G8157390000
Washer, Thrust
Loading…
↗
19
970130501200
Bolt, hexagon
Loading…
↗
20
929900510000
Ybs67-5 washer, spring
Loading…
↗
21
6G8157260000
Washer, Flat
Loading…
↗
22
6G8157940000
Stopper
Loading…
↗
23
6G8157460000
Arm
Loading…
↗
24
6G8157670000
Spring
Loading…
↗
25
6G8157340000
Spring, Return
Loading…
↗
26
6G8157470000
Link
Loading…
↗
27
6G8157160000
Plate, Drive
Loading…
↗
28
929900620000
Ybs66-6 washer, plain
Loading…
↗
29
914901602000
Pin, cotter (e57)
Loading…
↗
30
6G8157120000
Cover, Starter Case
Loading…
↗
31
6G8157790000
Cover
Loading…
↗
32
6G8157890000
Damper
Loading…
↗
33
6G8157420000
Washer, flat 1
Loading…
↗
34
6G1157550000
Handle, starter
Loading…
↗
35
689157790100
Cover
Loading…
↗
36
970130803000
Bolt
Loading…
↗
37
929900860000
Washer, plain (663)
Loading…
↗
38
6G8157700000
Wire comp., starter stop
Loading…
↗
39
6G8157710000
Stay 1
Loading…
↗
40
970950601200
Bolt(gh1)
Loading…
↗
41
929900660000
Washer, plain (646)
Loading…
↗
42
6G8157720000
Stay 2
Loading…
↗
43
6G8441250000
Lever, Shift Rod
Loading…
↗