Yamaha Outboard Parts - Starting Motor - 200FETOL (2000) | Flood Marine
New Search
Parts
New Outboards
Home
200FETOL (2000)
Starting Motor
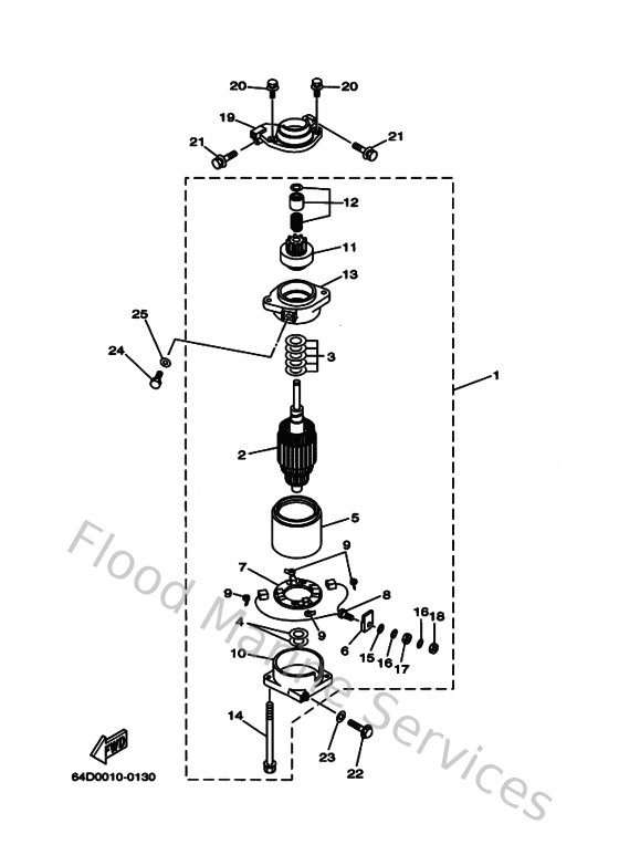
Diagram: Starting Motor
Parts List
Reference
Description
Price
1
6N7818001000
Starting motor assembly
Loading…
↗
2
6N7818501000
Armature assembly
Loading…
↗
3
61A818090000
Washer kit
Loading…
↗
4
61A818240000
Washer 2
Loading…
↗
5
6N7818100000
Stator assembly
Loading…
↗
6
6K78182G1000
Bush, terminal
Loading…
↗
7
6N7818400000
Brush holder assembly
Loading…
↗
8
6N7818010000
Brush set
Loading…
↗
9
6N7818130000
Spring, brush
Loading…
↗
10
6N7818201000
Rear bracket assembly
Loading…
↗
11
6N7818070000
Gear assembly, starting motor
Loading…
↗
12
6N7818570000
Pinion stopper set
Loading…
↗
13
6N7818300000
Front bracket assembly
Loading…
↗
14
6K7818261100
Bolt
Loading…
↗
15
6E58182E1000
Washer, spring
Loading…
↗
16
6E58182F1000
Washer,plain
Loading…
↗
17
6E58182A1000
Nut
Loading…
↗
18
6E58182K1000
Nut
Loading…
↗
19
6R3818220094
Bracket, starting motor
Loading…
↗
20
9011908M7600
Bolt, with washer(6e5)
Loading…
↗
21
9011908M7700
Bolt, with washer(6e5)
Loading…
↗
22
9011908M5700
Bolt, with washer
Loading…
↗
23
929900860000
Washer, plain (663)
Loading…
↗
24
970950801600
Bolt, hexagon deep recess
Loading…
↗
25
929950860000
Washer, plain (663)
Loading…
↗