Yamaha Outboard Parts - Starting Motor - 225AETOL (1989) | Flood Marine
New Search
Parts
New Outboards
Home
225AETOL (1989)
Starting Motor
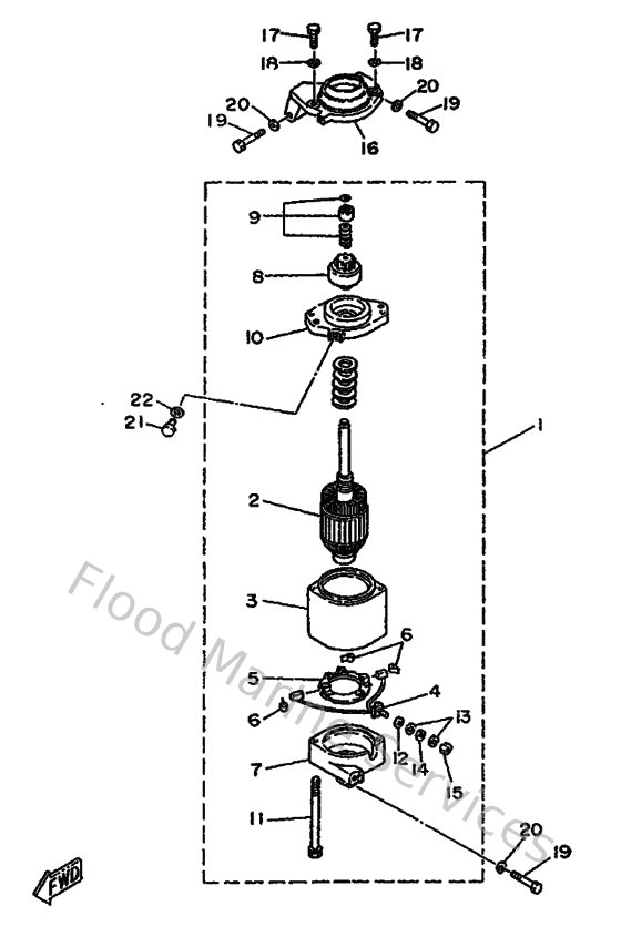
Diagram: Starting Motor
Parts List
Reference
Description
Price
1
6K7818001000
Starting motor assembly
Loading…
↗
4
6K7818011000
Brush Set
Loading…
↗
5
6K7818401000
Brush holder assembly
Loading…
↗
6
6E5818131000
Spring Brush
Loading…
↗
9
6E5818571000
Retainer
Loading…
↗
11
6K7818261000
Bolt
Loading…
↗
12
6E58182E1000
Washer, spring
Loading…
↗
13
6E58182F1000
Washer,plain
Loading…
↗
14
6E58182A1000
Nut
Loading…
↗
15
6E58182K1000
Nut
Loading…
↗
16
6K7818220094
Bracket, starting motor
Loading…
↗
17
970130802500
Bolt (682)
Loading…
↗
18
929900860000
Washer, plain (663)
Loading…
↗
19
970130804500
Bolt
Loading…
↗
21
973950801600
Bolt
Loading…
↗