Yamaha Outboard Parts - Starting Motor - 225BETOL (1992) | Flood Marine
New Search
Parts
New Outboards
Home
225BETOL (1992)
Starting Motor
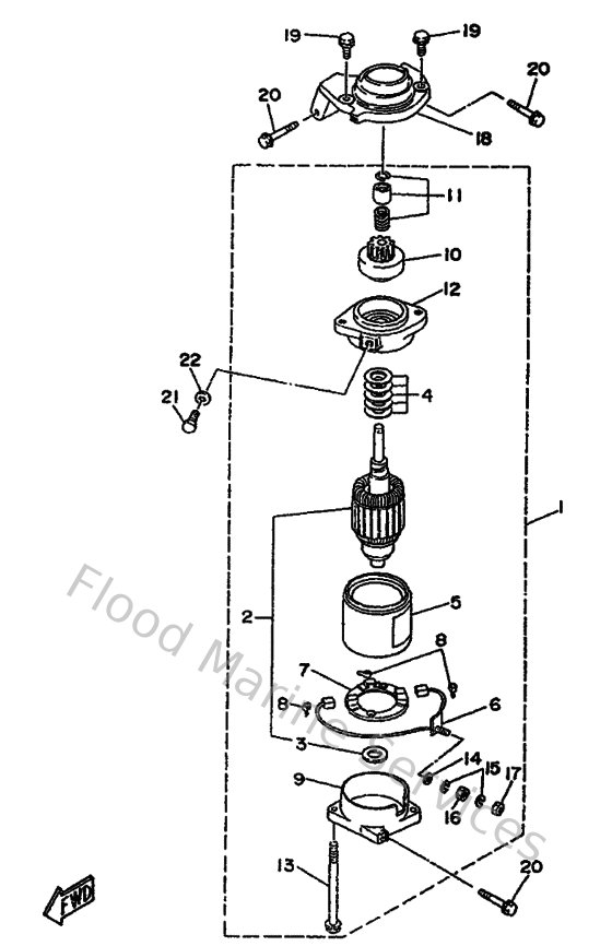
Diagram: Starting Motor
Parts List
Reference
Description
Price
1
61H818000100
Starting motor assembly
Loading…
↗
2
61A818500100
Armature assembly
Loading…
↗
3
61A818240000
Washer 2
Loading…
↗
4
61A818090000
Washer kit
Loading…
↗
6
6K7818011000
Brush Set
Loading…
↗
7
61A818400000
Brush holder assembly
Loading…
↗
8
6E5818131000
Spring Brush
Loading…
↗
9
61A818200000
Rear Bracket assembly
Loading…
↗
10
61H818070000
Gear Assembly, Starting Motor
Loading…
↗
11
61H818570000
Retainer
Loading…
↗
12
61A818300000
Front Bracket assembly
Loading…
↗
13
6K7818261100
Bolt
Loading…
↗
14
6E58182E1000
Washer, spring
Loading…
↗
15
6E58182F1000
Washer,plain
Loading…
↗
16
6E58182A1000
Nut
Loading…
↗
17
6E58182K1000
Nut
Loading…
↗
18
6K7818220094
Bracket, starting motor
Loading…
↗
19
9011908M7600
Bolt, with washer(6e5)
Loading…
↗
20
9011908M7700
Bolt, with washer(6e5)
Loading…
↗
21
973950801600
Bolt
Loading…
↗
22
929950860000
Washer, plain (663)
Loading…
↗