Yamaha Outboard Parts - Starting Motor - 225DETOL (2001) | Flood Marine

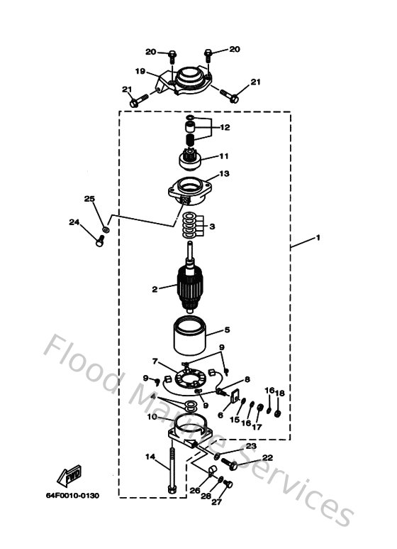
Diagram: Starting Motor

Diagram