Yamaha Outboard Parts - Starting Motor - 55BM (2001) | Flood Marine
New Search
Parts
New Outboards
Home
55BM (2001)
Starting Motor
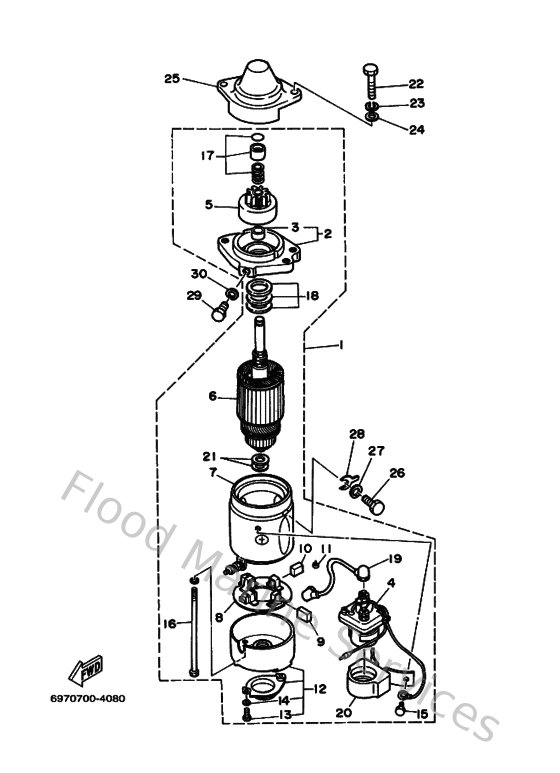
Diagram: Starting Motor
Parts List
Reference
Description
Price
1
697818001300
Starting motor assembly
Loading…
↗
2
676818301000
Front cover assembly
Loading…
↗
3
688818310000
Metal, front
Loading…
↗
4
682819411100
Starter, relay
Loading…
↗
5
663818321200
Pinion assembly
Loading…
↗
6
676818501200
Armature assembly
Loading…
↗
7
663818101100
Stator assembly
Loading…
↗
8
663818401100
Brush holder assembly
Loading…
↗
9
663818111100
Brush 1
Loading…
↗
10
663818121100
Brush 2
Loading…
↗
11
663818131000
Spring, brush
Loading…
↗
12
663818201200
Rear bracket assembly
Loading…
↗
13
985030401200
Screw, pan head (686)
Loading…
↗
14
929010410000
Ybs67-4 washer, spring
Loading…
↗
15
973130601000
Bolt
Loading…
↗
16
663818261000
Bolt 1
Loading…
↗
17
697818571200
Pinion stopper set
Loading…
↗
18
697818091000
Washer kit
Loading…
↗
19
697818151000
Wire, lead
Loading…
↗
20
697819521000
Holder, relay
Loading…
↗
21
688818240000
Washer 2
Loading…
↗
22
970130804000
Bolt, Hexagon
Loading…
↗
23
929030810000
Ybs67-8 washer, spring
Loading…
↗
24
929901010000
Ybs67-10 washer, spring
Loading…
↗
25
663818420194
Cover 3
Loading…
↗
26
970130802500
Bolt (682)
Loading…
↗
28
663811620000
Washer, Plain
Loading…
↗
29
970130801600
Bolt, hexagon
Loading…
↗