Yamaha Outboard Parts - Starting Motor - 85AET (1993) | Flood Marine
New Search
Parts
New Outboards
Home
85AET (1993)
Starting Motor
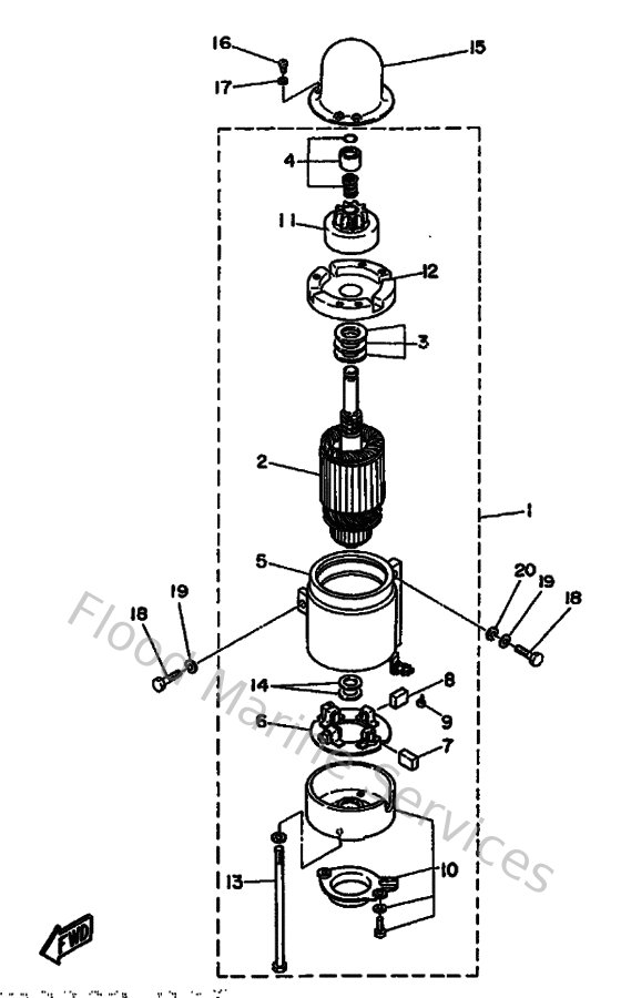
Diagram: Starting Motor
Parts List
Reference
Description
Price
1
688818001200
Starting motor assembly
Loading…
↗
2
676818501100
Armature assembly
Loading…
↗
3
676818091000
Washer kit
Loading…
↗
4
676818571000
Pinion stopper set
Loading…
↗
5
688818101100
Stator assembly
Loading…
↗
6
663818401100
Brush holder assembly
Loading…
↗
7
663818111100
Brush 1
Loading…
↗
8
663818121100
Brush 2
Loading…
↗
9
663818131000
Spring, brush
Loading…
↗
10
663818201200
Rear bracket assembly
Loading…
↗
11
663818321100
Pinion assembly
Loading…
↗
12
688818301100
Front bracket assembly
Loading…
↗
13
663818261000
Bolt 1
Loading…
↗
14
688818240000
Washer 2
Loading…
↗
15
688818420000
Cover
Loading…
↗
16
985800401000
Screw, pan head (e56)
Loading…
↗
17
929900420000
Ybs66-4 washer, plain
Loading…
↗
18
970130803000
Bolt
Loading…
↗
19
929900810000
Ybs67-8 washer, spring
Loading…
↗
20
929900860000
Washer, plain (663)
Loading…
↗