Yamaha Outboard Parts - Steering - 25NMHO (1996) | Flood Marine
New Search
Parts
New Outboards
Home
25NMHO (1996)
Steering
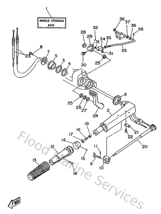
Diagram: Steering
Parts List
Reference
Description
Price
1
6L2W0084004D
Handle Steering assembly
Loading…
↗
2
6G142111104D
Handle, steering
Loading…
↗
7
6G1421310100
Cover, handle steering
Loading…
↗
9
6G1421250100
Bolt, friction adjusting
Loading…
↗
10
6EEG21260000
Friction, steering
Loading…
↗
12
664421190000
Grip, steering handle
Loading…
↗
13
6G1421770000
Rubber, handle
Loading…
↗
14
6L2421370000
Indicator, throttle
Loading…
↗
20
6EGG21380000
Lever, throttle
Loading…
↗
21
6E0421590200
Stay
Loading…
↗
23
6L2263010000
Throttle cable assembly
Loading…
↗
24
6L2441110094
Handle, gear shift
Loading…
↗
29
6L2441250094
Lever, shift rod
Loading…
↗
33
6L2441240000
Link, shift rod
Loading…
↗
34
6L2263630000
End, cable
Loading…
↗