Yamaha Outboard Parts - Steering - 55BM (1998) | Flood Marine
New Search
Parts
New Outboards
Home
55BM (1998)
Steering
Diagram: Steering
Parts List
Reference
Description
Price
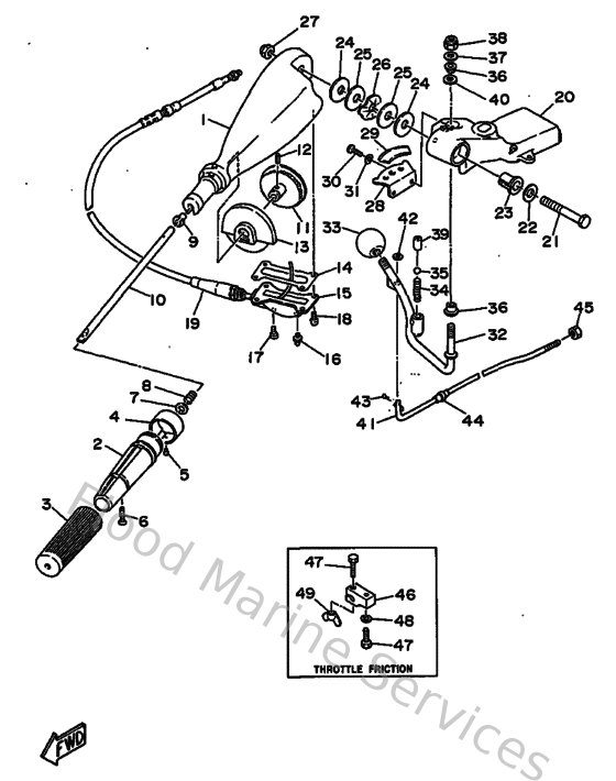
1
66342111024D
Handle, steering
Loading…
↗
2
664421190000
Grip, steering handle
Loading…
↗
3
6G1421770000
Rubber, handle
Loading…
↗
4
692421370200
Indicator, throttle
Loading…
↗
5
9026902M0900
Rivet(6l5)
Loading…
↗
6
9014905M1300
Screw, countersunk
Loading…
↗
7
929901060000
Washer, plate
Loading…
↗
8
905012321500
Spring (655)
Loading…
↗
9
903860803200
Bushing (650)
Loading…
↗
10
663421150000
Shaft, steering handle
Loading…
↗
11
663421380000
Lever, throttle
Loading…
↗
12
916903021600
Pin, spring(663)
Loading…
↗
13
663421350100
Housing, throttle lever
Loading…
↗
14
663421330100
Gasket
Loading…
↗
15
663421340394
Cover, throttle lever
Loading…
↗
16
9370006M0300
Nipple, grease(6a1)
Loading…
↗
17
978850600800
Screw, pan head(6a3)
Loading…
↗
18
978850501200
Screw,pan head (646)
Loading…
↗
19
692263010300
Throttle cable assembly
Loading…
↗
20
69742121004D
Bracket
Loading…
↗
21
9010112M0600
Bolt
Loading…
↗
22
929901220000
Ybs66-12 washer,plain
Loading…
↗
23
903861208900
Bushing(663)
Loading…
↗
24
902021209200
Washer, plate(663)
Loading…
↗
25
902011253700
Washer, plate(663)
Loading…
↗
26
902061205400
Washer, wave(663)
Loading…
↗
27
901851205800
Nut, nylon(663)
Loading…
↗
28
697441130000
Cam plate, handle
Loading…
↗
29
6K5441910000
Indicator,shift
Loading…
↗
30
970950601600
Bolt, hexagon deep recess
Loading…
↗
31
929950610000
Washer(6a1)
Loading…
↗
32
697441590000
Handle, gear shift 2
Loading…
↗
33
663441730000
Lever, shift control
Loading…
↗
34
9050116M1700
Spring (697)
Loading…
↗
35
9351532M0100
Ball (697)
Loading…
↗
36
903861000900
Bushing 6484418600
Loading…
↗
37
902011012000
Washer, plate
Loading…
↗
38
901851005100
Nut, self-locking
Loading…
↗
39
9038712M3000
Coller (697)
Loading…
↗
40
9020112M3400
Washer (692)
Loading…
↗
41
663421640000
Rod, manual shift
Loading…
↗
42
929900660000
Washer, plain (646)
Loading…
↗
43
914902501200
Pin, cotter
Loading…
↗
44
903860608800
Bushing(663)
Loading…
↗
45
700483390000
Nut,cable end
Loading…
↗
46
663421260100
Friction, steering handle
Loading…
↗
47
970950602500
Bolt
Loading…
↗
49
901750600300
Nut, wing (f87)
Loading…
↗