Yamaha Outboard Parts - Steering - 85AET (1996) | Flood Marine
New Search
Parts
New Outboards
Home
85AET (1996)
Steering
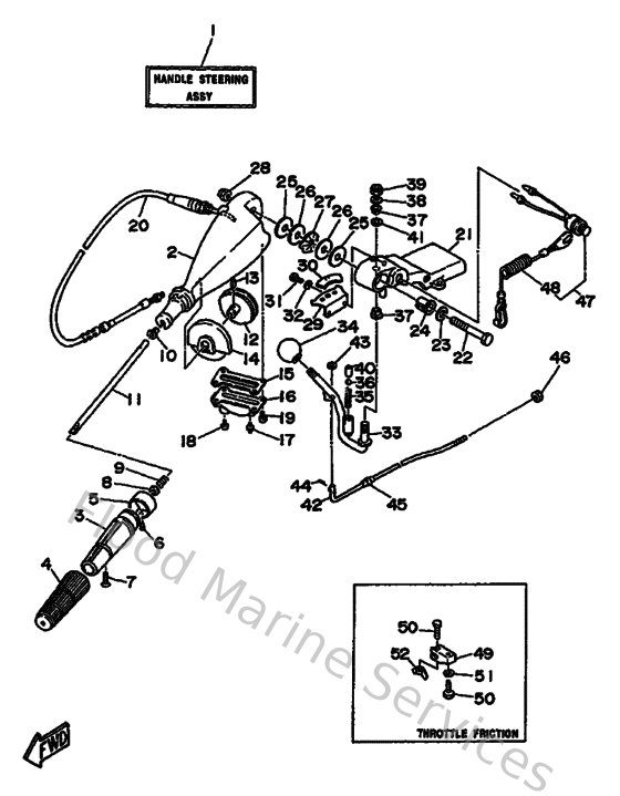
Diagram: Steering
Parts List
Reference
Description
Price
1
692W0084114D
Handle steering assembly
Loading…
↗
2
69242111124D
Handle, Steering
Loading…
↗
3
664421190000
Grip, steering handle
Loading…
↗
6
9026902M0900
Rivet(6l5)
Loading…
↗
7
901520501100
Screw, countersunk
Loading…
↗
8
929901060000
Washer, plate
Loading…
↗
9
905012321500
Spring (655)
Loading…
↗
10
903860803200
Bushing (650)
Loading…
↗
11
692421150000
Shaft, steering handle
Loading…
↗
12
663421380000
Lever, throttle
Loading…
↗
13
916903021600
Pin, spring(663)
Loading…
↗
14
692421350000
Housing, throttle lever
Loading…
↗
15
663421330100
Gasket
Loading…
↗
16
692421340394
Cover, Throttle Lever
Loading…
↗
17
9370006M0300
Nipple, grease(6a1)
Loading…
↗
18
978850600800
Screw, pan head(6a3)
Loading…
↗
19
978850501200
Screw,pan head (646)
Loading…
↗
20
692263010300
Throttle cable assembly
Loading…
↗
21
692WS421004D
Bracket
Loading…
↗
22
9010112M0600
Bolt
Loading…
↗
23
929901220000
Ybs66-12 washer,plain
Loading…
↗
24
903861208900
Bushing(663)
Loading…
↗
25
902021209200
Washer, plate(663)
Loading…
↗
26
902011253700
Washer, plate(663)
Loading…
↗
27
902061205400
Washer, wave(663)
Loading…
↗
28
901851205800
Nut, nylon(663)
Loading…
↗
29
697441130000
Cam plate, handle
Loading…
↗
30
6K5441910000
Indicator,shift
Loading…
↗
31
970950601600
Bolt, hexagon deep recess
Loading…
↗
32
929950610000
Washer(6a1)
Loading…
↗
33
692441590100
Handle, gear shift 2
Loading…
↗
34
663441730000
Lever, shift control
Loading…
↗
35
9050116M1700
Spring (697)
Loading…
↗
36
9351532M0100
Ball (697)
Loading…
↗
37
903861000900
Bushing 6484418600
Loading…
↗
38
902011012000
Washer, plate
Loading…
↗
39
901851005100
Nut, self-locking
Loading…
↗
40
9038712M3000
Coller (697)
Loading…
↗
41
9020112M3400
Washer (692)
Loading…
↗
42
692421640000
Rod, manual shift
Loading…
↗
43
929900660000
Washer, plain (646)
Loading…
↗
44
914902502000
Pin, cotter
Loading…
↗
45
903860608800
Bushing(663)
Loading…
↗
46
700483390000
Nut,cable end
Loading…
↗
47
688825750100
Engine stop switch assembly
Loading…
↗
48
682825560000
Lanyard, stop switch
Loading…
↗
49
663421260100
Friction, steering handle
Loading…
↗
50
970950602500
Bolt
Loading…
↗
52
901750600300
Nut, wing (f87)
Loading…
↗