Yamaha Outboard Parts - Steering - F8AMH (1988) | Flood Marine

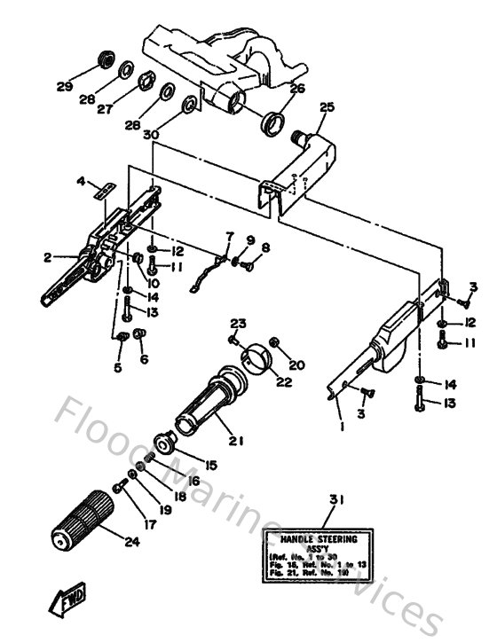
Diagram: Steering

Diagram