Yamaha Outboard Parts - Steering Friction - 40VMO (1997) | Flood Marine
New Search
Parts
New Outboards
Home
40VMO (1997)
Steering Friction
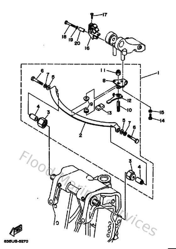
Diagram: Steering Friction
Parts List
Reference
Description
Price
1
63D425080000
Steering friction assembly
Loading…
↗
2
63D425270000
Plate, friction
Loading…
↗
3
63D425460000
Nut
Loading…
↗
4
63D425410000
Pipe 1
Loading…
↗
5
9020108M0100
Washer, plate(6l2)
Loading…
↗
6
970950805000
Bolt (62k)
Loading…
↗
7
929950860000
Washer, plain (663)
Loading…
↗
8
63D425260000
Plate, friction
Loading…
↗
9
63D425280000
Plate, friction
Loading…
↗
11
9018510M0100
Nut, self-locking(62x)
Loading…
↗
12
63D425610000
Knob, steering lock
Loading…
↗
13
682433180100
Cover
Loading…
↗
14
970950601600
Bolt, hexagon deep recess
Loading…
↗
15
929950610000
Washer(6a1)
Loading…
↗
16
63D823610000
Clamp, cord
Loading…
↗
17
9016106M0300
Screw, tapping(6e7)
Loading…
↗
18
970950603500
Bolt(j52)
Loading…
↗
19
929900660000
Washer, plain (646)
Loading…
↗
20
9038706M2600
Collar(61n)
Loading…
↗