Yamaha Outboard Parts - Steering Guide - 40HM (1986) | Flood Marine
New Search
Parts
New Outboards
Home
40HM (1986)
Steering Guide
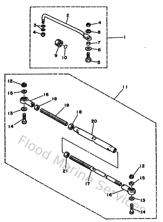
Diagram: Steering Guide
Parts List
Reference
Description
Price
1
689613500200
Steering guide attachment kit
Loading…
↗
2
689613510100
Rod, steering
Loading…
↗
3
9020110M2000
Washer, plate (663)
Loading…
↗
4
9018509M0100
Nut, nylon (663)
Loading…
↗
5
9010109M6600
Bolt
Loading…
↗
6
9020110M6300
Washer, plate
Loading…
↗
7
9038710M4200
Coller (688)
Loading…
↗
8
9017009M0300
Nut (689)
Loading…
↗
9
6E5431450000
Cap, clamp bracket
Loading…
↗
10
932101627500
O-ring
Loading…
↗
11
688613010100
Twin kit
Loading…
↗
13
9020110M7600
Washer, plate (6e5)
Loading…
↗
14
9010109M7000
Bolt (6e5)
Loading…
↗
15
9017009M0500
Nut, hexagon (6e5)
Loading…
↗
16
6E5613030000
Steering axle comp.
Loading…
↗
17
688613111100
Tie bar
Loading…
↗
18
953801470000
Nut (6e5)
Loading…
↗
19
6E5613150000
Tie bar, 2
Loading…
↗
20
6E5613130000
Adjuster
Loading…
↗
21
9017014M0600
Nut (6e5)
Loading…
↗