Yamaha Outboard Parts - Steering Guide - L200BETOL (1990) | Flood Marine
New Search
Parts
New Outboards
Home
L200BETOL (1990)
Steering Guide
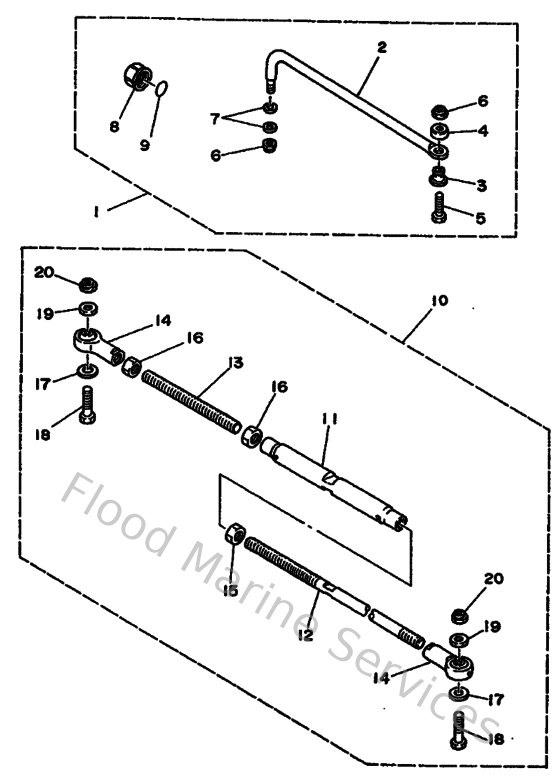
Diagram: Steering Guide
Parts List
Reference
Description
Price
1
6E5613500100
Steering guide attachment kit
Loading…
↗
2
6E5613510000
Rod, steering link
Loading…
↗
3
9038710M6100
Collar (6e5)
Loading…
↗
4
9056012M0100
Spacer (6e5)
Loading…
↗
5
6E5613550000
Bolt
Loading…
↗
6
9018509M0100
Nut, nylon (663)
Loading…
↗
7
9020110M2000
Washer, plate (663)
Loading…
↗
8
6E5431450000
Cap, clamp bracket
Loading…
↗
9
932101627500
O-ring
Loading…
↗
10
6E5613010100
Tie bar assembly (l:600-800mm)
Loading…
↗
11
6E5613130000
Adjuster
Loading…
↗
12
6E5613111100
Tie bar
Loading…
↗
13
6E5613150000
Tie bar, 2
Loading…
↗
14
6E5613030000
Steering axle comp.
Loading…
↗
15
9017014M0600
Nut (6e5)
Loading…
↗
16
953801470000
Nut (6e5)
Loading…
↗
17
9020110M7600
Washer, plate (6e5)
Loading…
↗
18
9010109M7000
Bolt (6e5)
Loading…
↗
19
9017009M0500
Nut, hexagon (6e5)
Loading…
↗