Yamaha Outboard Parts - Top Cowling - 130BETOL (1993) | Flood Marine
New Search
Parts
New Outboards
Home
130BETOL (1993)
Top Cowling
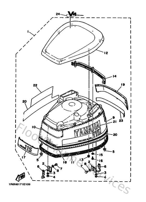
Diagram: Top Cowling
Parts List
Reference
Description
Price
2
6R3426470000
Holder, clamp band
Loading…
↗
3
929900610000
Washer(6a1)
Loading…
↗
4
953800660000
Nut(661)
Loading…
↗
5
6R3426620000
Damper
Loading…
↗
6
6R3428140000
Hook, clamp
Loading…
↗
7
970800601200
Bolt(gh1)
Loading…
↗
8
929900660000
Washer, plain (646)
Loading…
↗
9
6N7426190000
Damper, form
Loading…
↗
10
6N7426270000
Damper, form
Loading…
↗
11
6R3426150100
Seal
Loading…
↗
13
9017906M2400
Nut(6j8)
Loading…
↗
14
6N7426360000
Louver, 2
Loading…
↗
15
929900460000
Washer, plain (646)
Loading…
↗
16
977804012000
Ybs83-420 screw,panh,tapping
Loading…
↗
17
6N7426864000
Emblem, front
Loading…
↗
19
6N6426870000
Emblem, rear
Loading…
↗
24
6N7426834000
Mark, cowling
Loading…
↗