Yamaha Outboard Parts - Top Cowling - 50HM (1995) | Flood Marine
New Search
Parts
New Outboards
Home
50HM (1995)
Top Cowling
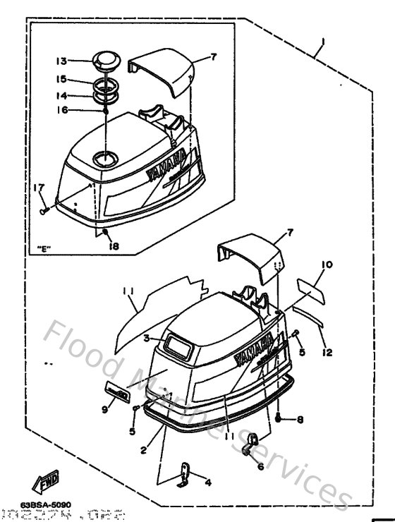
Diagram: Top Cowling
Parts List
Reference
Description
Price
1
63D426102000
Top Cowling assembly
Loading…
↗
2
6H4426150000
Seal
Loading…
↗
3
6H4157610000
Seal 1
Loading…
↗
4
6H4426510000
Hook 1
Loading…
↗
5
9026604M0100
Rivet (689)
Loading…
↗
6
6H4426520000
Hook 2
Loading…
↗
7
6H442613118D
Molding, air duct
Loading…
↗
8
9011906M9900
Bolt, with washer(6h4)
Loading…
↗
9
63D426771000
Graphic, Front
Loading…
↗
13
63D2177H0000
Disk cap 2
Loading…
↗
14
6H3217320000
Seal 1
Loading…
↗
15
6H3217350000
Seal 2
Loading…
↗
16
6H1426940000
Band
Loading…
↗
17
9033805M0300
Plug (6h1)
Loading…
↗
18
9018305M0600
Nut, spring(6h4)
Loading…
↗