Yamaha Outboard Parts - Upper Casing - 225AETOL (1989) | Flood Marine
New Search
Parts
New Outboards
Home
225AETOL (1989)
Upper Casing
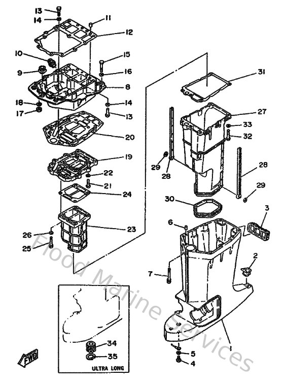
Diagram: Upper Casing
Parts List
Reference
Description
Price
2
6E5451550000
Cap
Loading…
↗
3
6E5427690000
Seal, rubber
Loading…
↗
4
973950601000
Bolt
Loading…
↗
5
929900660000
Washer, plain (646)
Loading…
↗
6
9360812M0500
Pin, dowel b (6e5)
Loading…
↗
7
901190807800
Bolt, with washer
Loading…
↗
8
6G5411370094
Guide, exhaust
Loading…
↗
9
6E5427240000
Grommet
Loading…
↗
10
6G5125810000
Joint, hose
Loading…
↗
12
6G5451130000
Gasket, upper casing
Loading…
↗
13
973950803000
Bolt, hexagon (fj1)
Loading…
↗
14
929900810000
Ybs67-8 washer, spring
Loading…
↗
15
970950804500
Bolt, hexagon
Loading…
↗
17
953800870000
Nut(661)
Loading…
↗
19
6G54113101CA
Manifold, ext. 1
Loading…
↗
20
6G5451140000
Gasket, upper casing
Loading…
↗
22
929900860000
Washer, plain (663)
Loading…
↗
23
6G541132009M
Manifold, Exhaust
Loading…
↗
24
6G5411340000
Gasket, exhaust manifold
Loading…
↗
27
6E514711009M
Muffler 1
Loading…
↗
28
6E5147370000
Damper, muffler
Loading…
↗
29
9018305M0200
Nut, spring (6e5)
Loading…
↗
30
6E5451230000
Gasket, muffler
Loading…
↗
31
6E5411350000
Gasket, exhaust manifold
Loading…
↗
32
973950804500
Bolt, hexagon
Loading…
↗