Yamaha Outboard Parts - Upper Casing - 225BETOL (1995) | Flood Marine
New Search
Parts
New Outboards
Home
225BETOL (1995)
Upper Casing
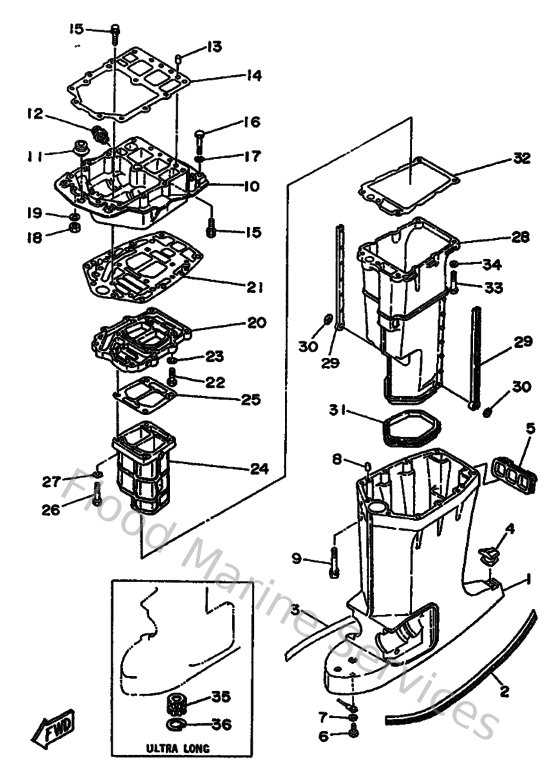
Diagram: Upper Casing
Parts List
Reference
Description
Price
1
6E545111004D
Casing, Upper
Loading…
↗
4
6E5451550000
Cap
Loading…
↗
10
6G541137KT94
element
Loading…
↗
11
6E5427240000
Grommet
Loading…
↗
12
6G5125810000
Joint, hose
Loading…
↗
14
6G545113A000
Gasket, upper casing
Loading…
↗
20
6G54113101CA
Manifold, ext. 1
Loading…
↗
21
6G545114A000
Gasket, upper casing
Loading…
↗
24
6G541132005B
Manifold, Exhaust (6G5-41132-00-9M)
Loading…
↗
25
6G541134A000
Gasket, exhaust manifold
Loading…
↗
28
6E51471101CA
Muffler 1
Loading…
↗
29
6E5147370000
Damper, muffler
Loading…
↗
31
6E5451230000
Gasket, muffler
Loading…
↗
32
6E541135A000
Gasket, exhaust manifold
Loading…
↗
35
6E5453180000
Bushing, drive shaft 3
Loading…
↗