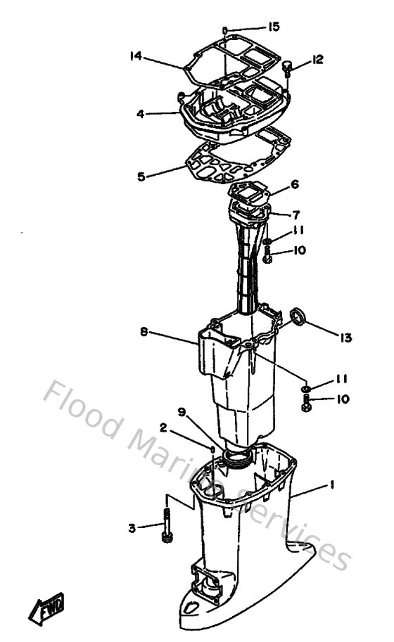
Yamaha Outboard Parts - Upper Casing - 40HM (1993) | Flood Marine

Diagram: Upper Casing

Diagram