Yamaha Outboard Parts - Upper Casing - 50DEMTO (1985) | Flood Marine
New Search
Parts
New Outboards
Home
50DEMTO (1985)
Upper Casing
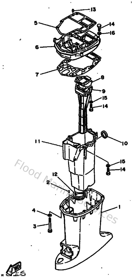
Diagram: Upper Casing
Parts List
Reference
Description
Price
2
936061201900
Pin, dowel (614)
Loading…
↗
4
929900860000
Washer, plain (663)
Loading…
↗
5
6H4451130000
Gasket, upper casing
Loading…
↗
6
6H4411370094
Guide, Exhaust
Loading…
↗
7
6H445114A100
Gasket, upper casing
Loading…
↗
8
6H4411340000
Gasket, exhaust manifold
Loading…
↗
9
6H54113100CA
Manifold, ext
Loading…
↗
10
6H4411330000
Gasket, exhaust manifold 1
Loading…
↗
11
6H414711009M
Muffler L
Loading…
↗
12
663451230000
Gasket, muffler
Loading…
↗
14
973750803000
Bolt, hexagon (fj1)
Loading…
↗
16
929900810000
Ybs67-8 washer, spring
Loading…
↗