Yamaha Outboard Parts - Upper Casing - 50GETO (1998) | Flood Marine

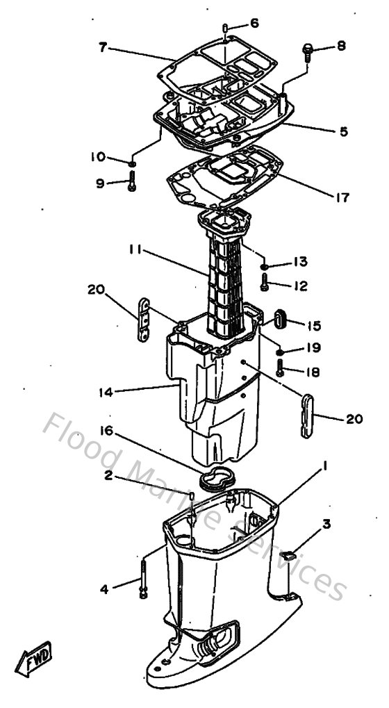
Diagram: Upper Casing

Diagram