Yamaha Outboard Parts - Upper Casing - 70BETO (1998) | Flood Marine
New Search
Parts
New Outboards
Home
70BETO (1998)
Upper Casing
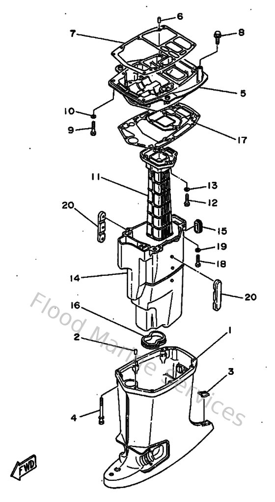
Diagram: Upper Casing
Parts List
Reference
Description
Price
1
6H345111014D
Casing, Upper
Loading…
↗
2
936061201900
Pin, dowel (614)
Loading…
↗
3
6H3451550000
Cap
Loading…
↗
4
9011908M8100
Bolt, with washer
Loading…
↗
5
6H34113701CA
Guide, exhaust
Loading…
↗
7
6H345113A000
Gasket, upper casing
Loading…
↗
8
9011908M7900
Bolt, hexagon (fj1)
Loading…
↗
9
970700803500
Bolt(70w)
Loading…
↗
10
929900810000
Ybs67-8 washer, spring
Loading…
↗
11
6H24113100CA
Manifold, ext. 1
Loading…
↗
12
970950803000
Bolt, hexagon (fj1)
Loading…
↗
14
6H31471111CA
Muffler 1
Loading…
↗
15
6H3451270000
Seal 1
Loading…
↗
16
6H3451230000
Gasket, muffler
Loading…
↗
20
6H3147370000
Damper, Muffler
Loading…
↗