Yamaha Outboard Parts - Upper Casing - 75AE (1998) | Flood Marine
New Search
Parts
New Outboards
Home
75AE (1998)
Upper Casing
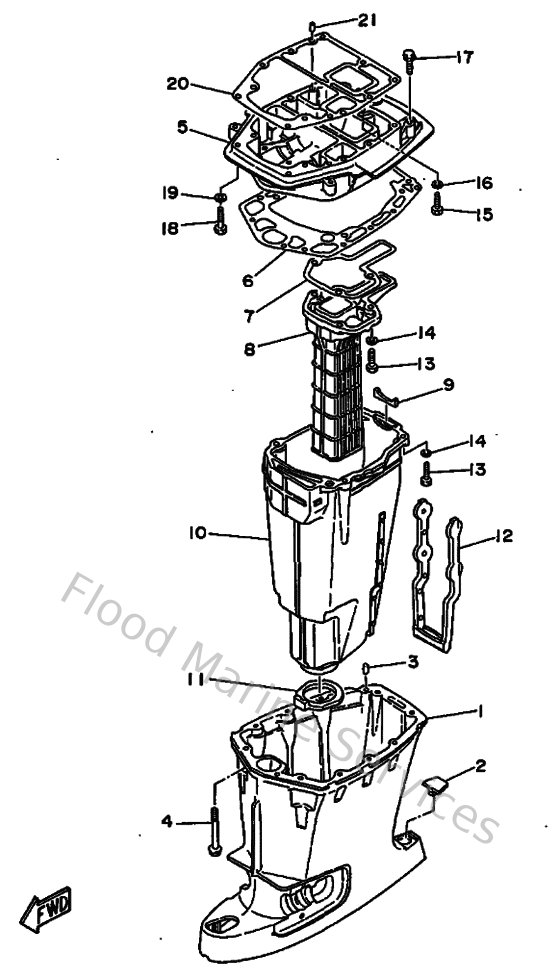
Diagram: Upper Casing
Parts List
Reference
Description
Price
1
68845111044D
Casing, upper
Loading…
↗
2
663451551000
Cap
Loading…
↗
3
936061201900
Pin, dowel (614)
Loading…
↗
4
9011908M8000
Bolt, with washer(688)
Loading…
↗
5
6884113709CA
Guide, exhaust
Loading…
↗
6
68845114A100
Gasket, upper casing
Loading…
↗
7
68841134A000
Gasket, exhaust manifold
Loading…
↗
8
69241131005B
Manifold, ext. 1
Loading…
↗
9
688411330000
Gasket, exhaust manifold 1
Loading…
↗
10
68814711015B
Muffler 1
Loading…
↗
11
688451230000
Gasket, muffler
Loading…
↗
12
663147371000
Damper, muffler
Loading…
↗
13
970950803000
Bolt, hexagon (fj1)
Loading…
↗
14
929900810000
Ybs67-8 washer, spring
Loading…
↗
15
970950802500
Bolt (62g)
Loading…
↗
17
970800803000
Bolt, hexagon (fj1)
Loading…
↗
18
970950803500
Bolt(70w)
Loading…
↗
20
68845113A000
Gasket, upper casing
Loading…
↗