Yamaha Outboard Parts - Upper Casing - 8CEM (1990) | Flood Marine
New Search
Parts
New Outboards
Home
8CEM (1990)
Upper Casing
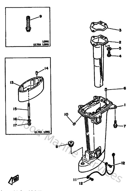
Diagram: Upper Casing
Parts List
Reference
Description
Price
1
6N0G5111004D
Casing, upper
Loading…
↗
2
6G141131005B
Manifold, ext. 1
Loading…
↗
3
6G141133A000
Gasket, exhaust manifold 1
Loading…
↗
4
973950602000
Bolt(7u8)
Loading…
↗
5
929900660000
Washer, plain (646)
Loading…
↗
6
936040806200
Pin,dowel (626)
Loading…
↗
7
958950603000
Bolt, flange deep recess
Loading…
↗
8
9048020M2900
Grommet (6g1)
Loading…
↗
9
6G1441470000
Boot, shift rod
Loading…
↗
10
6G1451350000
Pipe 1
Loading…
↗
11
6G1821270000
Wire, Lead 2
Loading…
↗
12
985800600800
Screw, pan head(6a3)
Loading…
↗
15
9011606M1800
Bolt Stud (6G1)
Loading…
↗
17
957800630000
Nut, nylon (6g1)
Loading…
↗