Yamaha Outboard Parts - Vapor Separator 1 - LZ150PETO (2000) | Flood Marine
New Search
Parts
New Outboards
Home
LZ150PETO (2000)
Vapor Separator 1
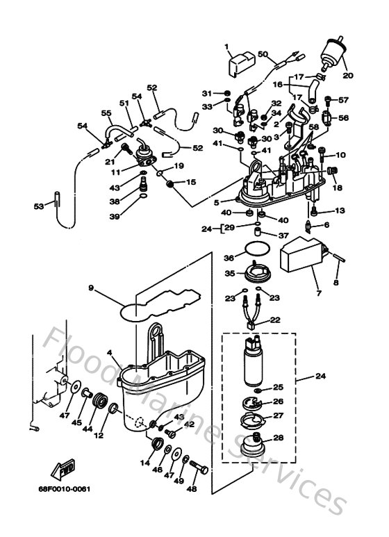
Diagram: Vapor Separator 1
Parts List
Reference
Description
Price
1
68F137840000
Cover, pump
Loading…
↗
2
68F242160000
Stay
Loading…
↗
3
68F244730000
Screw
Loading…
↗
4
66K149800000
Body, float chamber
Loading…
↗
5
68F141820100
Cover, float chamber
Loading…
↗
6
65L145460000
Valve, needle
Loading…
↗
7
66K149850000
Float
Loading…
↗
8
66K145480100
Pin, float arm
Loading…
↗
9
66K149840000
Gasket, float chamber
Loading…
↗
10
65L141250000
Screw
Loading…
↗
11
68F139060000
Regulator, pressure
Loading…
↗
12
66K142390000
Seal
Loading…
↗
13
66K143250100
Screw, pan head
Loading…
↗
14
66K141630000
Spacer
Loading…
↗
15
65L139050000
Filter comp
Loading…
↗
16
68F139710000
Pipe, fuel 1
Loading…
↗
17
65L243870000
Clip
Loading…
↗
18
65L149660000
Cap
Loading…
↗
19
65L244860000
O-ring
Loading…
↗
20
68F242510000
Strainer 1
Loading…
↗
21
66K142450000
Screw, guide
Loading…
↗
22
68F825090000
Wire, sub lead
Loading…
↗
23
65L142270000
Washer
Loading…
↗
24
68F139070100
Fuel pump comp.
Loading…
↗
25
65L141590000
Clip
Loading…
↗
26
68F137810000
Damper, pump
Loading…
↗
27
68F138440000
Plate 2
Loading…
↗
28
68F139150000
Filter
Loading…
↗
29
65L1416A0000
O-ring
Loading…
↗
30
65L142710000
Insulator
Loading…
↗
31
65L8182A0000
Nut
Loading…
↗
32
65L8182K0000
Nut
Loading…
↗
33
65L8182E0000
Washer
Loading…
↗
34
65L8182F0000
Washer
Loading…
↗
35
68F138430000
Plate 1
Loading…
↗
36
65L141470000
O-ring
Loading…
↗
37
68F142740000
Connector
Loading…
↗
38
66K243760000
Pipe, joint 1
Loading…
↗
39
66K244890000
O-ring
Loading…
↗
40
68F142710000
Insulator
Loading…
↗
41
65L143970000
O-ring
Loading…
↗
42
65L149920000
Screw, drain
Loading…
↗
43
65L149970000
Seal
Loading…
↗
44
65L243750000
Grommet
Loading…
↗
45
65L243970000
Collar
Loading…
↗
46
65L245760000
Washer
Loading…
↗
47
66K245790000
Washer 2
Loading…
↗
48
65L245920000
Bolt
Loading…
↗
49
65L241690000
Washer, lock
Loading…
↗
50
68F825070000
Wire, lead
Loading…
↗
51
66K135420000
Hose, vacuum sensing 1
Loading…
↗
52
66K135440000
Hose, Vacuum Sensing 2
Loading…
↗
53
66K135320000
Hose, vacuum sensing 3
Loading…
↗
54
65L244610000
Pipe.joint 4
Loading…
↗
55
66K135330000
Hose, vacuum sensing 4
Loading…
↗
56
65L138980000
Plate 4
Loading…
↗
57
65L145650000
Screw
Loading…
↗
58
9046511M1000
Clamp
Loading…
↗