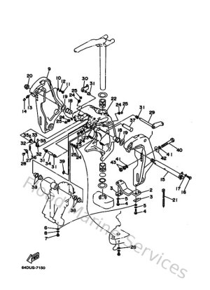
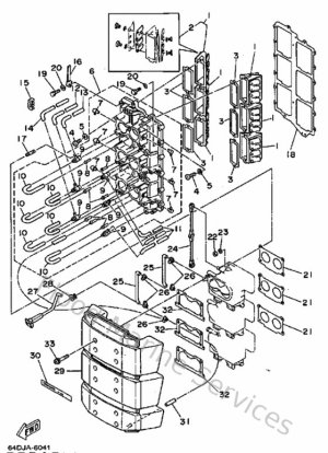
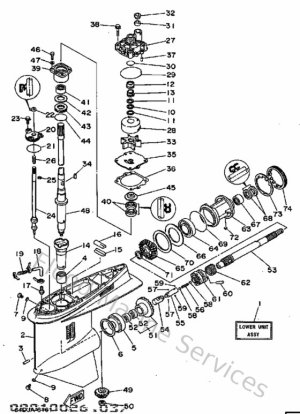
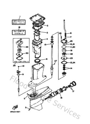
Diagram Sections: 150FETOL (1998)

Download as PDF