New Search
Parts
New Outboards
Diagram Sections: 15DWH (1987)
Download as PDF
Bottom Cowling
Bracket
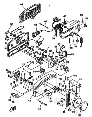
Control
Crankshaft & Piston
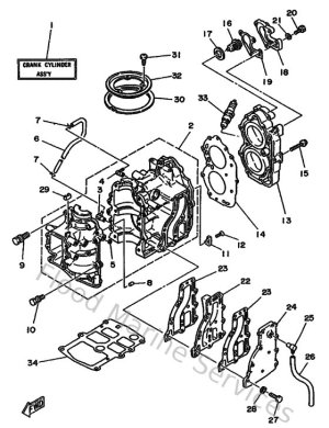
Cylinder & Crankcase
Electric Motor
Electric Parts
Fuel
Intake
Lower Casing & Drive 1
Lower Casing & Drive 2
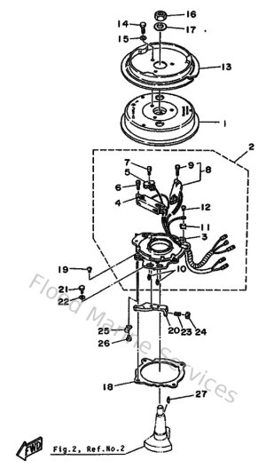
Magneto
Optional Parts 1
Optional Parts 2
Remote Control
Remote Control Assy
Repair Kit 1
Repair Kit 2
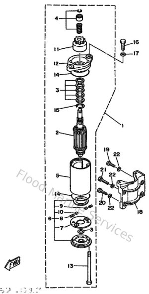
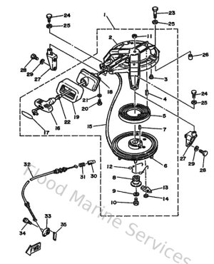
Starter
Top Cowling
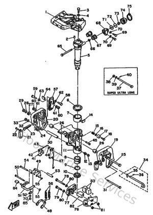
Upper Casing