New Search
Parts
New Outboards
Diagram Sections: 15FWH (1998)
Download as PDF
Bottom Cowling
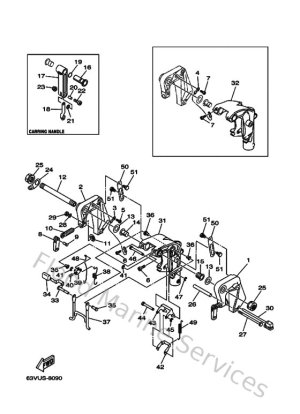
Bracket 1
Bracket 2
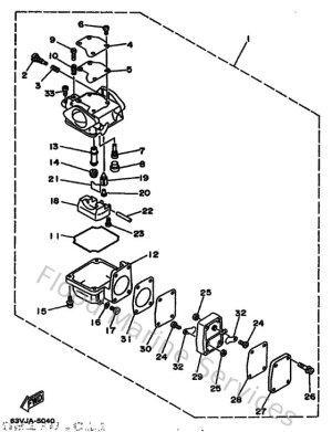
Carburetor
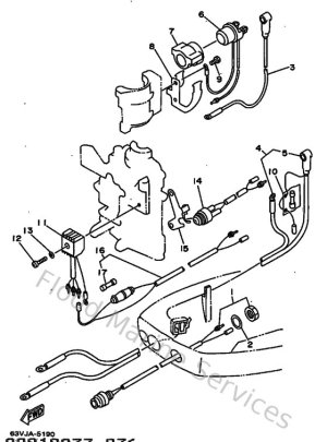
Control
Crankshaft & Piston
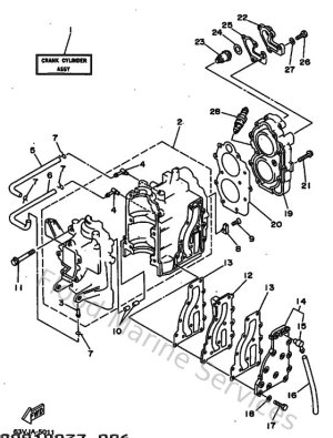
Cylinder & Crankcase
Electrical 1
Electrical 2
Fuel
Generator
Intake
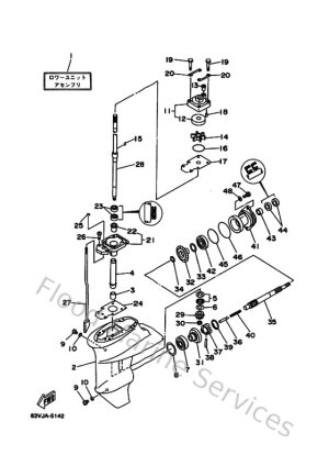
Lower Casing & Drive 1
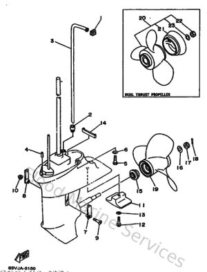
Lower Casing & Drive 2
Repair Kit 1
Repair Kit 2
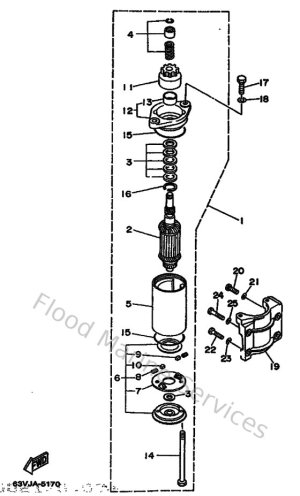
Starter
Starting Motor
Steering
Top Cowling
Upper Casing