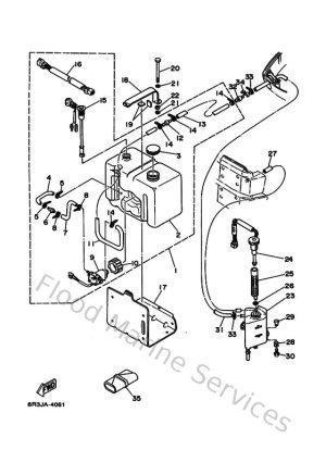
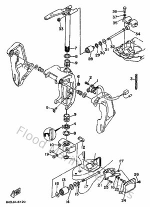
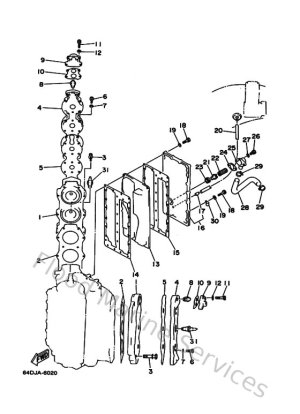
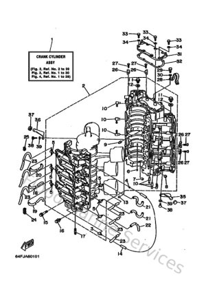
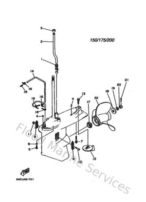
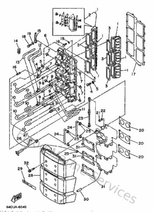
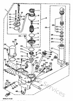
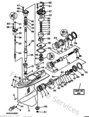
Diagram Sections: 175DETOL (1996)

Download as PDF