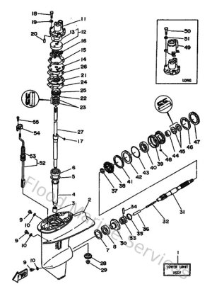
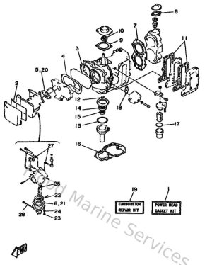
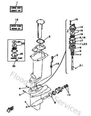
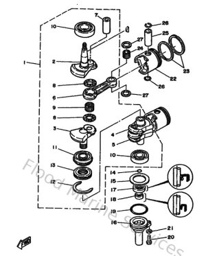
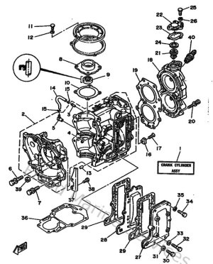
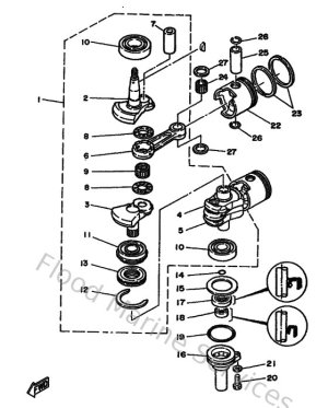
Diagram Sections: 20CMH (1990)

Download as PDF