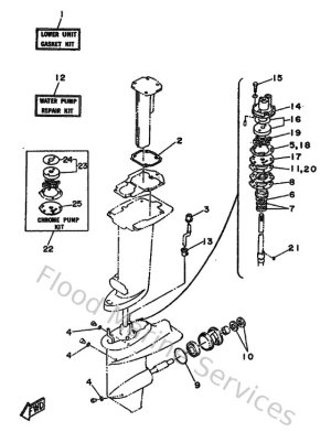
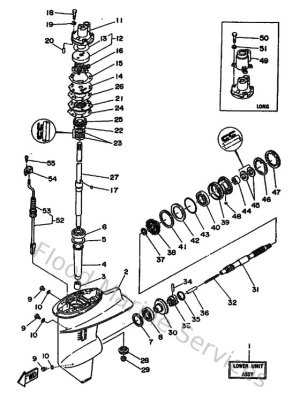
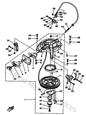
Diagram Sections: 20CMH (1993)

Download as PDF