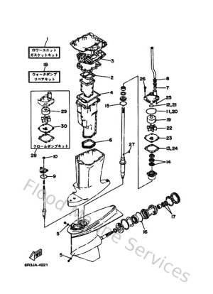
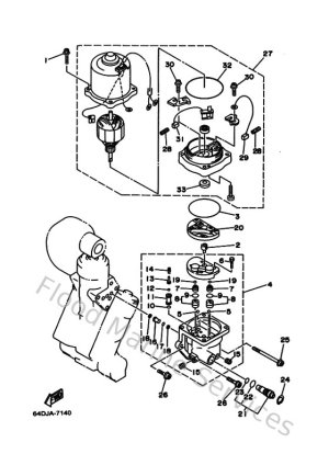
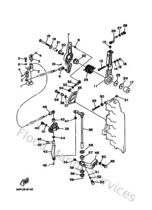
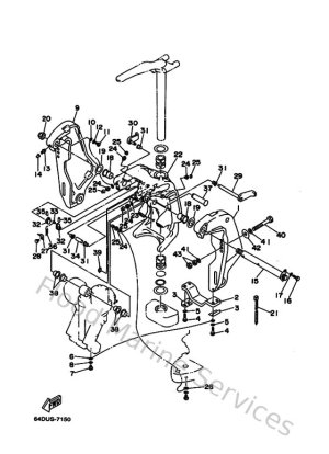
Diagram Sections: 225DETOL (1998)

Download as PDF