Diagram Sections: 225FETO (1998)
Download as PDF-
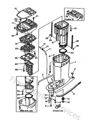
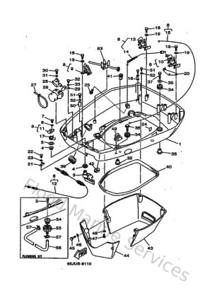
Bottom Cowling
-
Bracket 1
-
Bracket 2
-
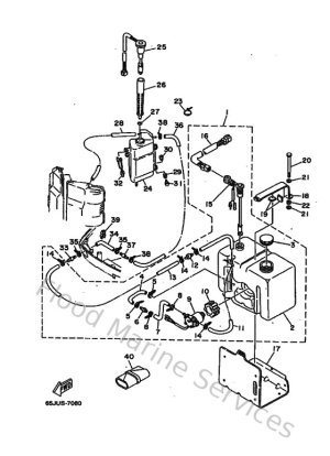
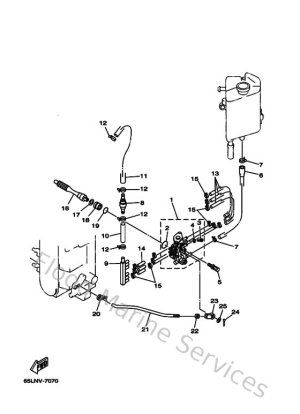
Control
-
Crankshaft & Piston
-
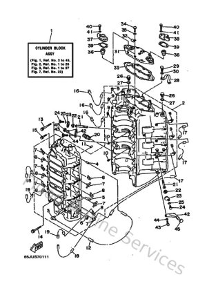
Cylinder. Crankcase 1
-
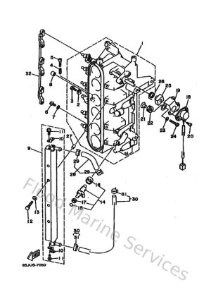
Cylinder. Crankcase 2
-
Electrical 1
-
Electrical 2
-
Electrical 3
-
Electrical 4
-
Fuel
-
Fuel Injection Nozzle
-
Fuel Injection Pump
-
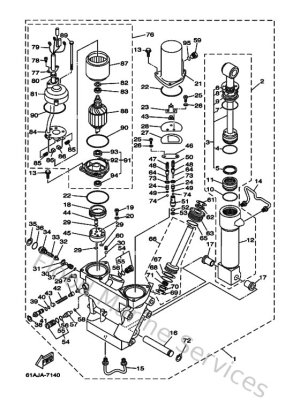
Intake
-
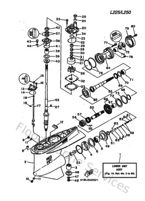
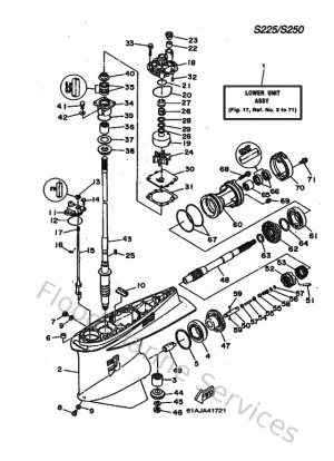
Lower Casing. Drive 1
-
Lower Casing. Drive 2
-
Lower Casing. Drive 3
-
Lower Casing. Drive 4
-
Magneto
-
Oil Pump
-
Oil Tank
-
Power Trim & Tilt Assy 1
-
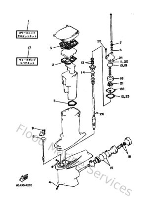
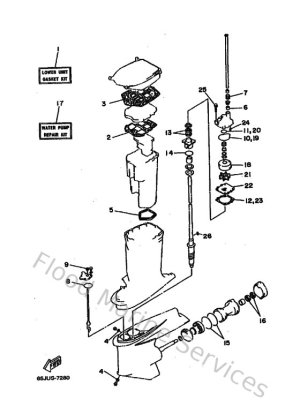
Repair Kit 1
-
Repair Kit 2
-
Starting Motor
-
Top Cowling
-
Upper Casing