Diagram Sections: 225GETOL (2000)
Download as PDF-
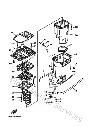
Bottom Cowling
-
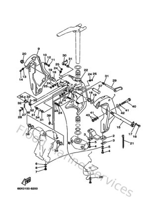
Bracket 1
-
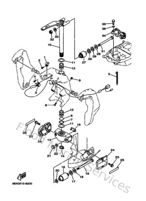
Bracket 2
-
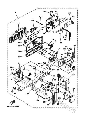
Control
-
Crankshaft & Piston
-
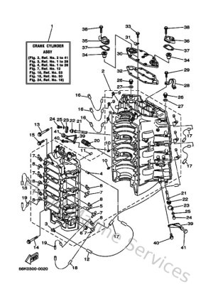
Cylinder & Crankcase
-
Cylinder & Crankcase 2
-
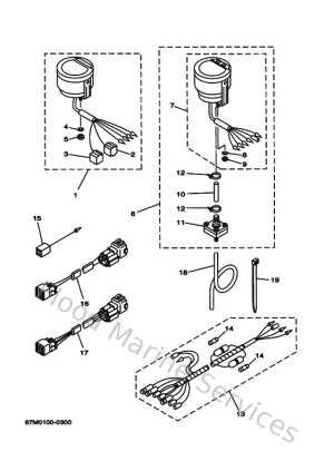
Electrical 1
-
Electrical 2
-
Electrical 3
-
Electrical 4
-
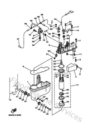
Fuel
-
Fuel 2
-
Fuel Injection Nozzle
-
Fuel Injection Pump
-
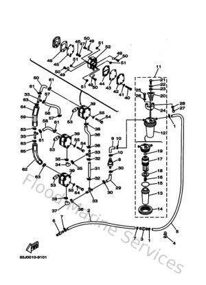
Generator
-
Intake
-
Lower Casing & Drive 1
-
Lower Casing & Drive 2
-
Meter
-
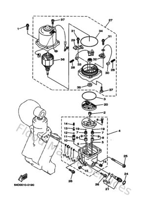
Oil Pump
-
Oil Tank
-
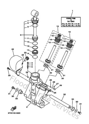
Power Trim & Tilt Assy 1
-
Power Trim & Tilt Assy 2
-
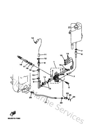
Remote Control Assy 1
-
Remote Control Box
-
Repair Kit 1
-
Repair Kit 2
-
Starting Motor
-
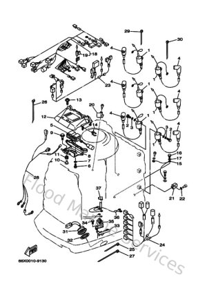
Top Cowling
-
Upper Casing