Diagram Sections: 250AETOXLX (2000)
Download as PDF-
Bottom Cowling
-
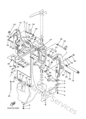
Bracket 1
-
Bracket 2
-
Carburetor
-
Control
-
Crankshaft & Piston
-
Cylinder. Crankcase
-
Cylinder. Crankcase 2
-
Electrical 1
-
Electrical 2
-
Electrical 3
-
Electrical 4
-
Fuel
-
Fuel 2
-
Fuel 3
-
Generator
-
Intake
-
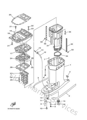
Lower Casing. Drive 1
-
Lower Casing. Drive 2
-
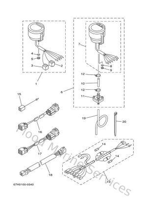
Meter
-
Oil Pump
-
Oil Tank
-
Power Trim & Tilt Assy
-
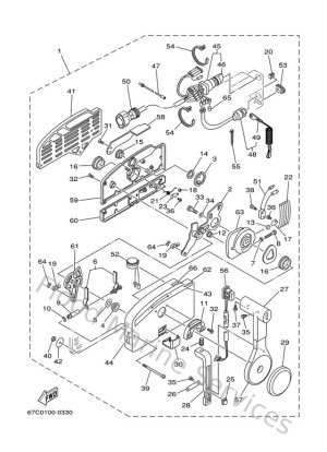
Remote Control Assy 1
-
Remote Control Box
-
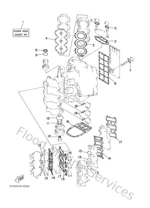
Repair Kit 1
-
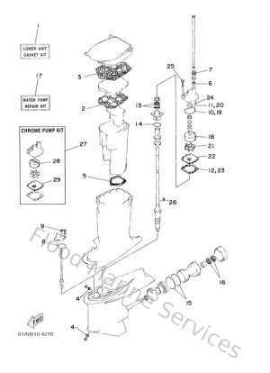
Repair Kit 2
-
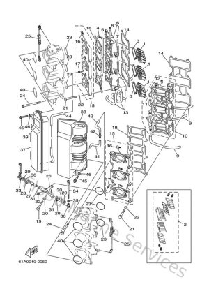
Repair Kit 3
-
Starting Motor
-
Steering Guide Attachment 1
-
Top Cowling
-
Upper Casing