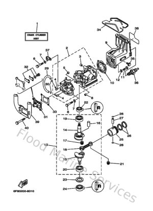
Diagram Sections: 2BMH (1999)

Download as PDF