New Search
Parts
New Outboards
Diagram Sections: 3AMH (1997)
Download as PDF
Control
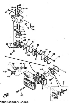
Cowling & Fuel
Cylinder & Crankcase
Generatrice
Intake
Kit De Reparation
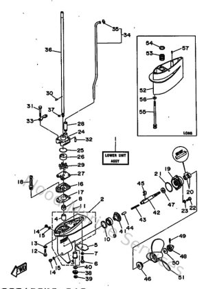
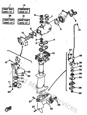
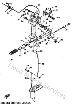
Lower Casing & Drive
Pieces Electrique
Starter
Upper Casing & Bracket