New Search
Parts
New Outboards
Diagram Sections: 3AMH (1998)
Download as PDF
Controller 1
Cowling & Fuel
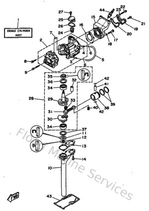
Cylinder & Crankcase
Intake
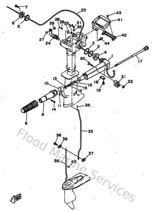
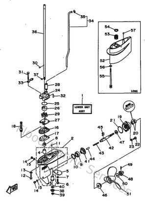
Lower Casing & Drive
Starter
Upper Casing & Bracket