New Search
Parts
New Outboards
Diagram Sections: 3AMH (1999)
Download as PDF
Control
Cowling & Fuel
Cylinder & Crankcase
Electrical
Generator
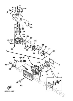
Intake
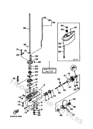
Lower Casing & Drive 1
Repair Kit 1
Starter
Upper Casing & Bracket