New Search
Parts
New Outboards
Diagram Sections: 40VMO (2000)
Download as PDF
Bottom Cowling
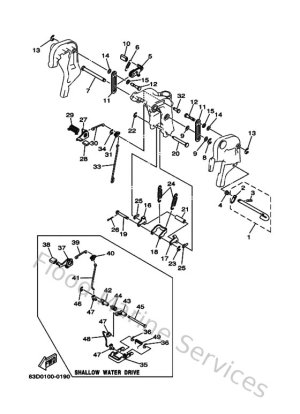
Bracket 2
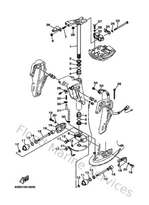
Bracket 3
Bracket 4
Carburetor
Control
Crankshaft & Piston
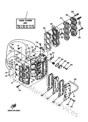
Cylinder & Crankcase
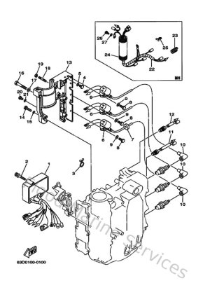
Electrical 1
Electrical 3
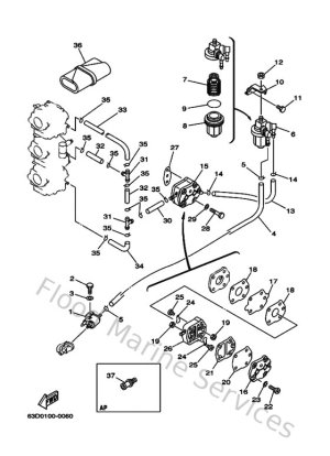
Fuel
Fuel 2
Generator
Intake
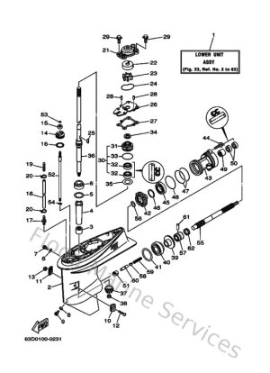
Lower Casing & Drive 1
Lower Casing & Drive 2
Repair Kit 1
Repair Kit 2
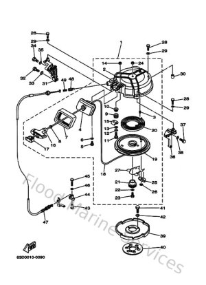
Starter
Steering
Top Cowling
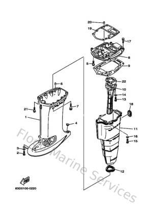
Upper Casing