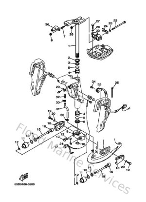
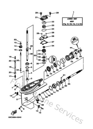
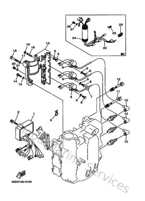
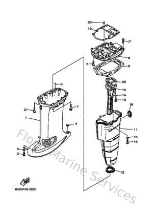
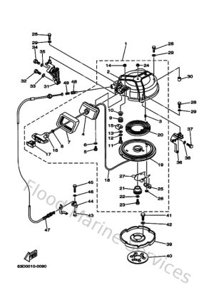
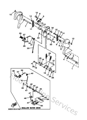
Diagram Sections: 40VMO (2001)

Download as PDF