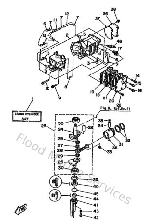
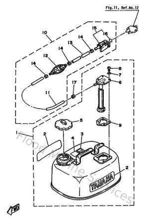
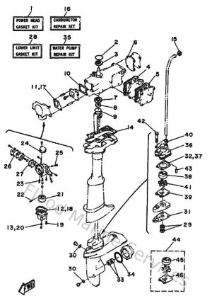
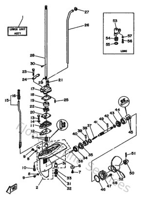
Diagram Sections: 4ACMH (1987)

Download as PDF