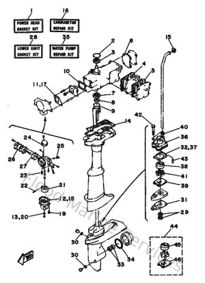
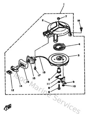
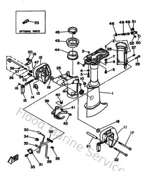
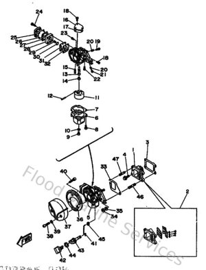
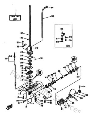
Diagram Sections: 4ACMH (1993)

Download as PDF