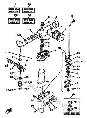
Diagram Sections: 4ACMH (1994)

Download as PDF