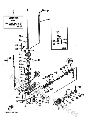
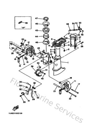
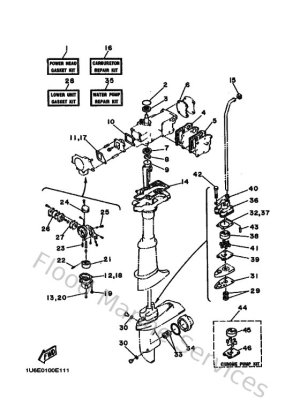
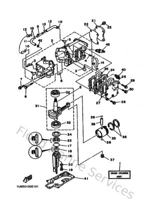
Diagram Sections: 4ACMH (1996)

Download as PDF