New Search
Parts
New Outboards
Diagram Sections: 4ACMH (1997)
Download as PDF
Bottom Cowling
Control
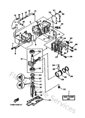
Cylinder & Crankcase
Electrical 1
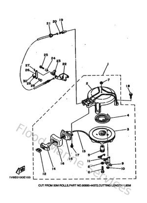
Generator
Intake
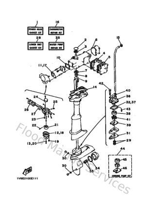
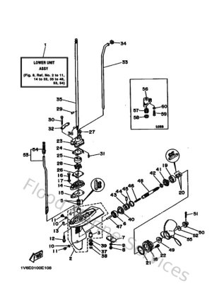
Lower Casing & Drive 1
Repair Kit
Starter
Top Cowling
Upper Casing & Bracket