New Search
Parts
New Outboards
Diagram Sections: 5CMH (1992)
Download as PDF
Alternate 1
Alternate 2
Control
Cowling & Fuel
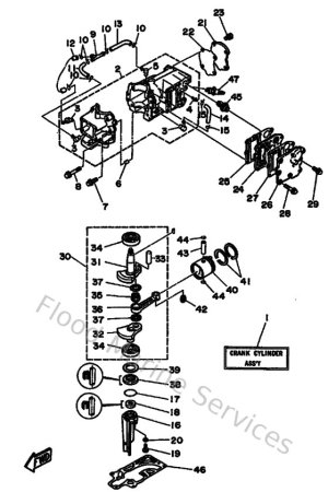
Cylinder & Crankcase
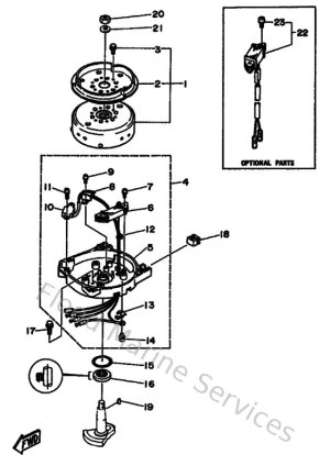
Electrical 1
Generator
Intake
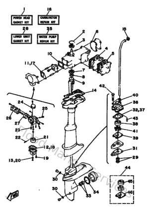
Lower Casing & Drive 1
Optional Parts 1
Repair Kit
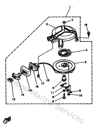
Starter
Upper Casing & Bracket