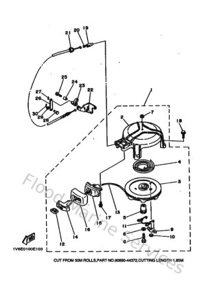
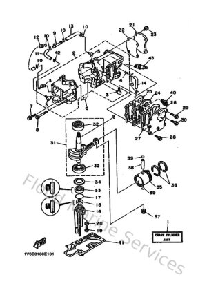
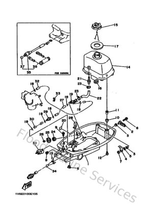
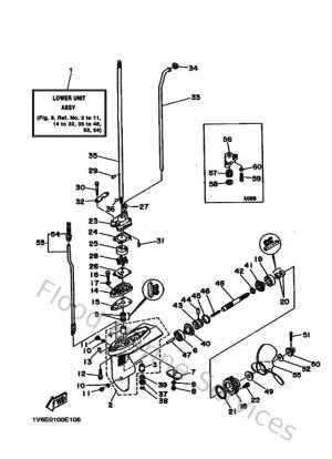
Diagram Sections: 5CMH (1997)

Download as PDF