New Search
Parts
New Outboards
Diagram Sections: 5CMH (1998)
Download as PDF
Bottom Cowling
Controller 1
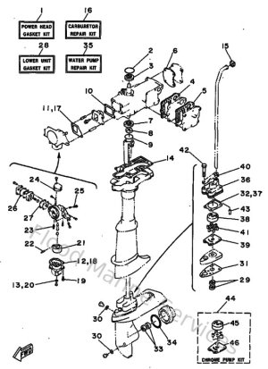
Cylinder & Crankcase
Generatrice
Intake
Kit De Reparation
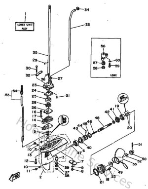
Lower Casing & Drive
Partie Electrique 1
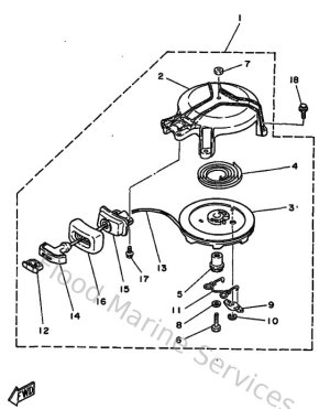
Starter
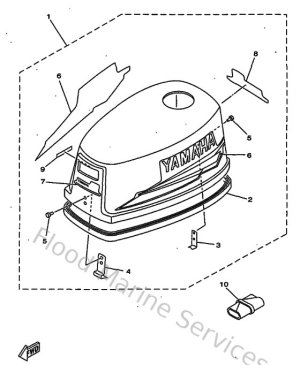
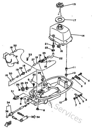
Top Cowling
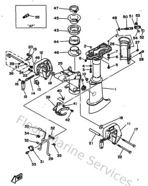
Upper Casing & Bracket