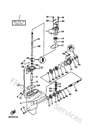
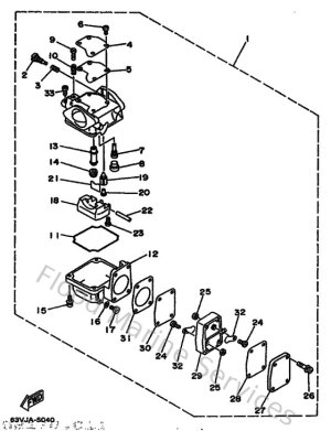
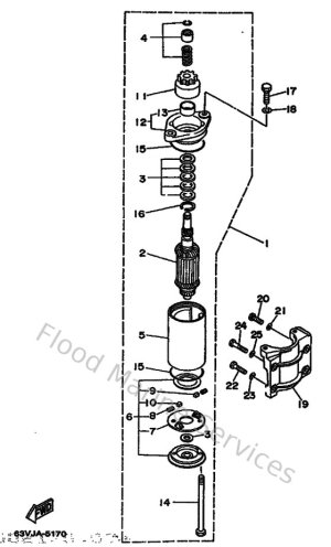
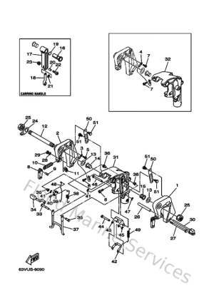
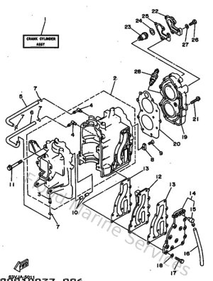
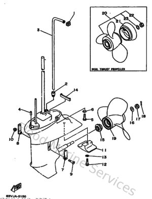
Diagram Sections: 9.9FMH (1998)

Download as PDF